Toon onbeantwoorde berichten | Toon actieve onderwerpen Het is nu 19 apr 2026 16:13



Antwoord op onderwerp  [ 2 berichten ] 
Past 'n 2.7 - 2000 Uitlaat ook onder 'n 2.5 - 1997 Boxster? 
Auteur Bericht
PorscheForum Rakker
Avatar gebruiker
911 carrera 3.0
Halle
Bericht Past 'n 2.7 - 2000 Uitlaat ook onder 'n 2.5 - 1997 Boxster?
EDIT: topic-titel aangepast :idea: O.

Past een uitlaat van een Boxster 2.7 van bouwjaar 2000 ook op een Boxster 2.5 van bouwjaar 1997 :?:
Wat dient er allemaal te worden aangepast/vervangen :?:

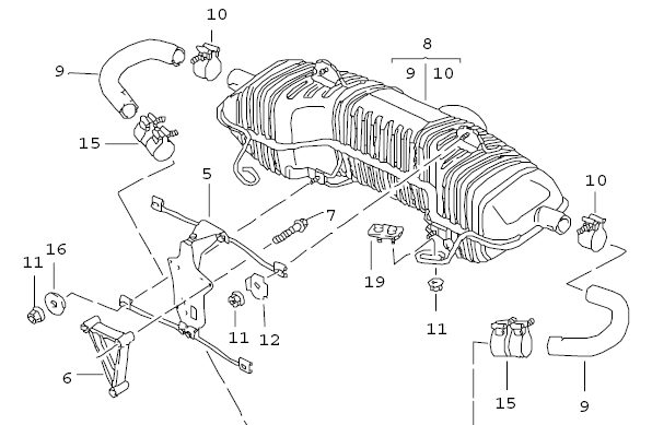
Uitlaat Boxster 1997 :
Bijlage:
Boxster 1997.jpg
Boxster 1997.jpg [ 102.02 KiB | 792 keer bekeken ]


Uitlaat Boxster 2000 :
Bijlage:
Boxster 2000.jpg
Boxster 2000.jpg [ 95.28 KiB | 788 keer bekeken ]
_________________________________________
"Porsche, there is none alternative ..."


03 jul 2009 14:06
Profiel
Moderator
Avatar gebruiker
The Last of the Mohicans ~ 993
Bericht Re: Uitlaat boxster
De uitlaat ziet er globaal hetzelde uit - maar er zijn wel wat andere (soort) bevestigingspunten ... je zal MI moeten gaan slijpen en lassen om de uitlaat passend te krijgen :|

.. of je zou de bevestigen moeten veranderen :idea: .. alles wat onderdeel 5 bij de '97-er vertegenwoordigt ... o.a. onderdeel 11, 50 en dat stangetje waarvan het nummer niet te zien is ...


03 jul 2009 14:25
Profiel WWW Facebook 
Geef de vorige berichten weer:  Sorteer op  
Antwoord op onderwerp   [ 2 berichten ] 

Wie is er online

Gebruikers op dit forum: Geen geregistreerde gebruikers.


Je mag geen nieuwe onderwerpen in dit forum plaatsen
Je mag niet antwoorden op een onderwerp in dit forum
Je mag je berichten in dit forum niet wijzigen
Je mag je berichten niet uit dit forum verwijderen
Je mag geen bijlagen toevoegen in dit forum

Zoek naar:

   
Powered by phpBB © 2000, 2002, 2005, 2007 phpBB Group. • Statistieken
www.porscheforum.nl is niet verbonden aan Porsche AG of Pon Porsche Import.